智慧卡券提貨系統操作文檔說明
智慧卡券提貨系統是智慧云碼旗下專門針對禮品行業研發的預售提貨系統,適用于大閘蟹提貨、海鮮提貨、水果提貨、茶葉提貨、大米提貨、農產品提貨、月餅提貨、酒類提貨等提貨用途,以及禮券提貨、禮品卡、提貨卡等多種提貨用途,支持手機、微信、PC等方式自助提貨 以及 線下門店自提。操作簡單,滿足不同客戶需求。
智慧卡券提貨系統為智慧云碼平臺子系統,所有智慧云碼用戶均可申請購買開通,系統開通后,直接從智慧云碼企業中心集成登陸,同時系統也支持單獨登陸管理,管理地址為:
https://giftcard.165183.com/Manage/login
關于智慧卡券提貨系統使用整體操作流程,如下所示:
①添加產品>>②添加卡券>>③生成提貨碼>>④導出提貨碼>>⑤印刷提貨卡>>⑥消費者提貨>>⑦后臺訂單處理
一、關于系統管理
系統管理為系統使用的第一步,主要為設置系統基本資料,設置線下提貨門店、設置物流發貨方式,充值短信帳戶等。
1.1系統設置
系統設置主要為設置系統名稱、LOGO、聯系方式 以及 系統紅包的名稱、兌換須知等基本資料。如下所示:

1.2關于門店管理
門店管理為設置可供用戶線下上門提貨的門店地址及聯系方式,系統支持多門店添加。如圖示為門店列表;如下所示:

添加添加門店或編輯,可添加或修改門店資料。如下所示:

1.3短信管理
系統中有幾個功能需用到短信通知,如:有新的線上提貨訂單時,短信通知管理員及時發貨、有新的上門提貨訂單時,同時通知管理員及門店負責人及時備貨,線下訂單發貨時,通知提貨人及時關注并查詢物流狀態等。
注意:在使用短信功能前,需先向短信帳戶充值,目前系統充值費用為0.05元/條。在短信管理中,可查看所有短信充值記錄 以及 短信發送記錄,清楚掌握每一條費用去向。同時,點擊 短信充值按扭,進行余額充值,目前系統支持微信支付充值。如下所示:

1.4關于物流管理
物流管理為錄入系統所支持的快遞方式,當用戶選擇線上提貨時,可從所支持的快遞方式中選擇合適的方式進行發貨。
添加/編輯物流方式時,特別需要注意的是 物流代碼,必須按 快遞公司標準編碼 錄入,以方式系統實時跟蹤物流狀態。如下所示:

1.5關于系統操作日志
系統中所有滲及到數據的增加、修改、刪除等操作,均會自動生成日志,以方便管理員日后查詢。日志記錄不可刪除,永久保留。如下所示:

二、關于產品管理
2.1產品類別設置
系統支持多產品,為方便產品的管理,在添加產品資料前,需先錄入產品類別資料。如下圖所示:

2.2產品規格設置
對于產品中部分相同屬性,比如:產地、重量、包裝 等,系統支持以規格形式預先設置好,在添加產品時,直接勾選對應屬性即可,方便用戶提升錄入效率,同時也方便日后批量更新。如下圖所示:

2.3關于產品品牌設置
對于品牌產品,在產品品牌設置中,錄入并管理品牌資料。如下圖所示:
產品品牌設置中,點擊【添加品牌】。輸入品牌名稱等字段,點擊【保存】按鈕,提交后成功創建新的產品品牌。如下圖所示:

2.4關于產品管理
在產品管理中,用戶可添加、編輯、刪除 以及復制產品資料。如下圖所示:
點擊添加產品,錄入產品名稱、分類、品牌,選擇產品的附加屬性 及 產品詳細資料,即可完成產品資料的錄入。如下圖所示:

三、關于卡券管理
3.1 卡券管理
通常情況下,商家可以發布多種不同規格的卡券,如禮品卡,可發行白金卡、金卡、VIP卡,大閘蟹可發行2388套餐、3888套餐、5888套外等,在智慧卡券提貨中,不同卡券或套餐,就是通過 卡券管理來實現。
如下圖所示:
在卡券管理中,點擊 添加卡券,可添加新的卡券,同時,也可以從現有卡券列表中,點擊復制,復制現有卡券,再做細節調整即可。如下圖所示:

3.2關于提貨碼列表
此處可查看所有系統中的提貨碼及密碼、所屬卡券、批 以及啟用狀態、發貨狀態、是否已提貨等。對于未被提貨的提貨碼,系統支持批量刪除。如下圖所示:
點擊提貨碼,可彈出提貨網址,掃碼可預覽提貨效果。如下圖所示:

3.3關于批量生成提貨碼
一般卡券都是大規模發布,一張卡券中可包含萬百上千甚至幾萬幾十萬的提貨卡,因此,系統中提貨碼的生成,采用后臺批量自動生成的方式。商家在批量生成提貨碼功能中,設置要生成的提貨碼前綴、提貨碼長度、格式,密碼長度、格式,生成數量 以及 所屬卡券,點擊保存,即可等待系統在后臺自動生成該批次的提貨碼。如下圖所示:

3.4關于批量修改、刪除提貨碼
同樣,為支持批量大規模提貨碼,系統中,修改、刪除提貨碼,及提貨碼狀態管理等,均采用批量操作的方式。在修改提貨碼時,可通過流水號段、生成批次、卡券名稱、生成日期等4種條件,篩選需要修改的提貨碼,如下圖所示:
設置條件后,點確定,即可進入批量修改界面,修改主要包含切換所屬卡券、更改狀態等。如下圖所示:

四、關于導入導出
4.1 批量導入提貨碼
對于在其他系統生成的,或者已存在的提貨碼,支持批量導入到系統中。導入前,需要對提貨碼的文檔格式進行適當整理,以適應系統需要,目前系統支持excel文檔(即后綴為.xls或.xlsx)、文本文檔(.txt)、csv文檔三種格式。如下圖所示:
導入文件排版分別為,Excel:
Txt:

Csv(以逗號分隔):

4.2關于批量導出提貨碼
因提貨碼最終可能均需要印刷成卡片或禮盒,系統支持將提貨碼批量導出為excel文件,直接給到印刷廠或相關機構印刷。
第一步:可通過流水號段、生成批次、卡券名稱、生成日期等4種條件,篩選需要修改的提貨碼,并設置要導出的內容;點擊確定導出,系統即會生成一條導出任務給到后臺程序生成導出文件。如下圖所示:
第二步,一般三到五分鐘后,到提貨碼導出記錄中,查看導出記錄的狀態,當顯示已導出成功時,下載相應的文件即可。
4.3 提貨碼導入記錄
每次導入提貨碼,系統均會生成一條導入記錄,在提貨碼導入記錄中,可查看所有的導入記錄及導入狀態,并提貨原始導入文件的下載。如下圖所示:

4.4 關于提貨碼導出記錄
提貨碼批量導出任務提交后,因系統是后臺運行,無法即時提供導出結果,因此,需要在提貨碼導出記錄中,查看導出結果,如已導出完成,則可以在此下載導出結果文件。如下圖所示:

五、關于訂單管理
5.1 線上訂單
所有用戶選擇線上發貨的訂單,均會出現在 線上訂單 模塊。線上訂單分 未發貨、已發貨、已完成、已取消四種狀態,其中:已完成狀態為自動狀態,當訂單發貨后,系統會自動監控訂單狀態,用戶簽收后即自動完成。如下圖所示:
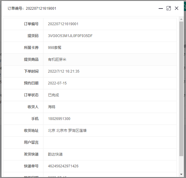
在訂單列表中,可依據訂單狀態切換不同訂單,方便商家管理。點擊訂單號可查看訂單詳情信息。如下圖所示:

未發貨訂單,點擊發貨按扭來進行訂單發貨;如下圖所示:

系統支持訂單批量導出。在訂單列表頁,篩選訂單,并點擊導出結果,即可將篩選結果以Excel文件導出即可。
5.2關于門店訂單
所有用戶選擇上門提貨的訂單,均會出現在 “門店訂單”模塊。如下圖所示:
門店訂單采用核銷模式,當用戶上門提貨時,出示訂單號手機號,商家在檢索到對應訂單后,點擊核銷,即完成訂單。如下圖所示:

5.3關于回收站
線上訂單及門店訂單中,有批量刪除訂單功能,但不會直接徹底刪除訂單,而是將訂單刪除至回收站中,用戶可以在回收站中,選擇恢復訂單或徹底刪除訂單。如下圖所示:

六、關于紅包管理
6.1 紅包設置
啟用紅包功能前,需要先在紅包設置中,設置紅包的領取限制及額度,系統支持 每日限額,每月限額、終身限額三種;如下圖所示:
每日限額:即單個用戶在同一個卡券中,每天可領取的紅包總數量。
每月限額:即單個用戶在同一個卡券中,每月可領取的紅包總數量。
終身限額:即單個用戶在同一個卡券中,合計可領取的紅包總數量。

6.2關于紅包賬戶管理
發放紅包前,需要確保紅包帳戶中有足夠可用的余額。在紅包帳戶管理中,可查看當前帳戶信息(余額、充值總額、支出總額等);也可查看紅包帳戶所有變動明細(充值記錄、支出記錄等);如下圖所示:
在金額中,輸入要充值的金額,點擊充值,系統將快捷喚出微信支付進行帳戶充值即可。
6.3關于紅包生成
紅包是一種營銷工具,商家可以在指定批次或指定卡券中,投入一定數量的隨機紅包,以吸引用戶參與,提升銷售數據。
生成紅包時,系統支持通過流水號段、生成批次、卡券名稱、生成日期等4種條件,進行批量生成,設置紅包生成條件,并設置紅包金額區間,點擊確定,系統則自動進行紅包分配。如下圖所示:

6.4 關于紅包列表
所有含有紅包的提貨碼,均會出現在紅包列表功能中。商家可以在此,對部分不需要的提貨碼,進行清除紅包操作。如下圖所示:
6.56
6.5關于領取明
紅包領取明細主要是用來展示領取紅包的用戶詳細信息。包括用戶姓名,領取時間,具體地理位置等。如下圖所示:

七、關于用戶提貨流程
刮開禮品卡、提貨卡,獲取提貨碼及密碼,掃碼即可完成提貨操作。如下圖所示:
線上提貨:





