第一步:登錄智慧云碼
登錄鏈接:https://www.165183.cn/login.aspx
1)微信掃碼登陸,如您已綁定微信賬號,用微信掃一掃即可登錄;
2)賬密碼登陸;
登陸成功后,在智慧云碼企業中心,點擊 電子雜志V2.0 進入管理系統。

第二步:上傳文檔
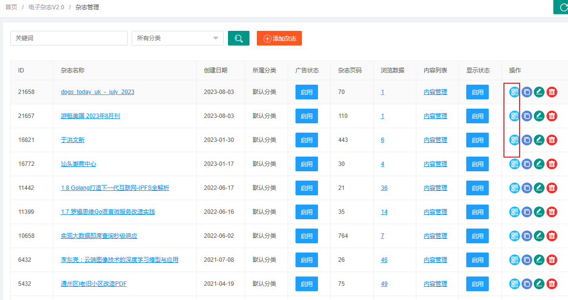
在系統左側,雜志管理,點擊進入 雜志管理 功能
點擊“添加雜志”,上傳文檔創建進入上傳界面

一 、多文件上傳
多個文檔上傳合并為一個電子書,支持PDF/PPT/word格式。

1)把需要合并的文件都選擇并上傳;

2)合并生成電子書

二 、單文件上傳
上傳一個文檔轉換為電子書,支持PDF/PPT/word格式。

第三步:詳細設置
上傳成功系統會自動進入詳細設置界面,在此界面可對電子雜志進行細節設置。

第四步:完成并發布
在詳細設置中,保存設計,即可退出編輯。回到雜志列表頁,獲取手機端瀏覽二維碼
